欢迎访问吉林省国茂立德机电设备有限公司网站~
生产油冷式电动滚筒、外装式电动滚筒厂家现货供应,可批发定制
联系我们

YTH型外装式电动滚筒

  • 产品分类: 外装式电动滚筒
  • 生产厂家: 吉林省国茂立德机电设备有限公司
  • 价格: 来电咨询
  • 添加时间: 20/03/27
  • 点击次数:  
产品详情



YTH型外装式电动滚筒工作的环境温度为-10℃~+40℃,输送物料的温度不超过60℃。使用地点的海拔高度一般不超过1000米,如果工作环境与上述条件不符,请与本公司联系。

其工作的环境温度为-15℃~+43℃,输送物料的温度不超过90℃。使用地点的海拔高度一般不超过1500米,如果工作环境与上述条件不符,请与本公司联系另行设计。

YTH型外装式电动滚筒生产技术,硬齿面行星齿轮传动,运行平稳,早声低,过载能力强、功率范围大。

可配置液力偶合器、逆止器、制动器,也可配隔爆电机,适用作各种恶劣环境下及有隔爆要求的大中型带式输送机的驱动的装置。

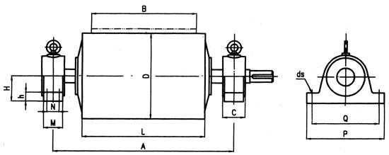
YTH型外装式电动滚筒的组成

YTH型外装式电动滚筒由滚筒体、驱动器及电机支架三部分(Ⅱ型无电机支架)。滚筒体主要包括滚筒壳体、支座及装在滚筒内的减速器组成。驱动器主要包括电动机,连轴器、液力偶合器、逆止器、制动器等不见。电机支架是用型钢焊接而成,用于安装电动机和护罩,用户也可按需要自行设计制造.





tags:YTH型外装式电动滚筒厂家,YTH型外装式电动滚筒价格
点击次数:   更新时间:20/03/27 16:10:03   【打印此页】   【关闭【返回上一页】
联系方式
联系人:徐申峰   
联系电话:13596478916
地址:吉林省长春市经济开发区吉林大路6666号顺风大市场6栋27号
二维码
联系我们